项目介绍 Project Introduction


在长兴县西南部的周吴岕村,整个村庄依山傍溪而筑,东临雉城镇,西毗泗安长潮岕,北与“十里古银杏长廊”八都岕隔山相望。村中有一座百余年历史周氏家族的祖宅,宅子早在1898年由主人周安生耗费15年修建完成,而时间流逝,子孙后代在城市中发奋有为,兴旺昌盛。眼见祖宅日渐消逝,门头上“积善流芳”的字迹业已模糊不清,周氏家族委托设计师修复宅邸,还原山影中的“根”与“魂” 。

建筑主体属于典型的穿斗式木结构,外部墙体做法为中国历史悠久的夯土墙技术,从局部坍塌的墙面内部还能看到暴露出的一根根水平方向的竹制“墙骨”。


业主周先生在此渡过了童年的美好时光,儿时的点滴总会浮上心头。设计充分尊重了他的情感记忆,以“自然营造”为总体策略,不增加不属于场所本身的体量或装饰,尽量减少对自然环境和乡民的生活影响。

空间的划分组织依然沿用旧有“三进三开”的合院布局,中轴线对称分列,面阔三间,中为厅堂,两侧为厢房,厅堂前方的天井,采光通风。院落相套,造就出纵深自足性家庭的生活空间。保留并修复了原本的门头,高墙封闭,马头翘角,墙线错落有致,黑瓦白墙,色泽典雅大方。

△ 总平面图(予舍予筑)



沿着主入口的一排毛石矮墙拾级而上便进入了周家老宅。通过毛石、沙砾、以及废弃的小青瓦用于不同区域的地面铺装,以少量的绿植来创造“半山、半石、半绿”的留白意境。无需明确的界定,院墙、绿植、地面铺装就已经为空间做出了区分,让室内与户外空间在自然四季变化中自然转换,在有限的空间中创造多样的游走序列。

△ 剖面图(予舍予筑)





以现代木结构建筑的建造手法,复原大堂传统的穿斗式木结构。天然丰富的纹理,温暖的色泽使木材具有无可替代的表现力和自然的亲和力。天然材料的运用和黑白灰的用色特点,塑造出淡雅质朴的建筑外观与中庸和谐的空间特征。




大堂由大幅落地窗与玻璃门围合而成,以现代手法重构通透的视觉效果,庭院的四季变化尽收眼底。即保持了传统民居的符号又体现了现代建筑的融合性和一致性,也是地域文化、乡土文化的一种回归方式。



14间客房沿建筑外侧布局,穿插若干景观庭院,保证每间客房良好的景观视线。穿过大堂,延木构楼梯拾阶而上,行至二楼客房。客房以木色为基调,黑白灰为辅,温润质朴,自然舒适,住客能感受“宝鼎茶闲烟尚绿,幽窗棋罢指犹凉”的诧寂之美。







木结构是历史产生的瑰宝,蕴含很重要的历史和文化价值,穿斗式木结构又是中国传统建筑中最重要的结构形式之一。拆下来的旧木料、旧砖瓦、花瓶式柱础都被重新被利用,老宅内的古树根据景观布局进行移植栽种。这次的复原,运用了现代木结构技术,使用钢构连接件替换了传统的技术,受力可以参与参数化计算,结构整体更加稳定及持久。


△ 结构系统
相较于传统木结构,现已对木材进行了增硬,防腐,阻燃等技术革新。且由于木柱与混泥土基础连接,土建施工时预埋误差较大,对木结构柱间距与柱标高影响很大。为解决这一问题,在设计时,将木柱脚用钢板组合,能有效的调整柱间距,使柱定位及标高误差达到毫米级。

△ 结构施工现场
木结构坡屋面采用挂瓦方式,在传统的挂瓦节点的木椽条间充填防火保温层,增加建筑保温性能,优于国家节点要求。并在檐口部分增加泛水板,更好的保护了木结构,大大增加了木构的使用寿命。


△ 屋顶施工现场
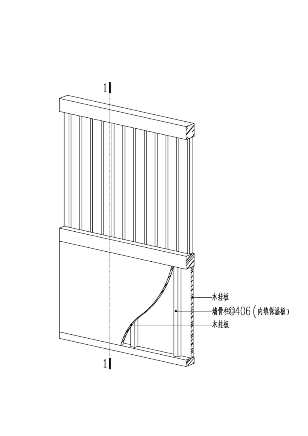
目前传统木结构建筑中的单板墙构造仅为单片木板结构,并不满足保温节能要求,严重影响建筑的后期使用。对此加以改良,在单板墙间增加一层保温层,使得建筑更为节能舒适。

△ 单板墙大样图

△ 单板墙施工现场
一座宅邸代表着一个家族的印迹,复原老宅唤起周氏对历史的记忆与最初的情怀。设计师与建造师运用现代木结构建造技术不仅完美的修复了建筑,顺应时代变迁,改善了原本潮湿、寒冷、昏暗、结构不稳定等的老建筑诟病,且增加大面积玻璃采光、强化墙体及屋顶节能环保、稳固整体结构等,使得居住感更为舒适宜人。

工程档案
项目名称 | 湖州安生斋居
地理位置 | 湖州长兴县周吴芥村
建筑面积 | 1202平方米
项目业主 | 上海嘉宇 & 周氏家族
建筑、室内、景观设计 | 予舍予筑(Yushe Design)
木结构设计 | 上海隽执建筑科技有限公司
木结构施工 | 上海隽执建筑科技有限公司
木构总负责 | 陈迪龙
木结构设计团队 | 李娟
木机构施工团队 | 黄利民
设计时间 | 2017年3月
竣工时间 | 2019年11月
摄影团队 | 繁玺视觉
注:部分文字整合自予舍予筑官方微信公众号